16mm Mini Ball Transfer Units

CONTACT US

Interested in this product, get in touch...

Material Types

No two applications are the same hence Alwayse have developed a range of material types that can satisfy all applications from standard to custom requirements.

Find out more

LOAD CAPACITY

LOAD BALL UP
70

LOAD BALL DOWN
Contact Technical

LOAD CAPACITY

LOAD BALL UP
70

LOAD BALL DOWN
Contact Technical

Specifications

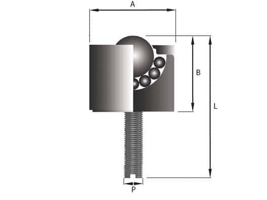
SPECIFICATION 11MI1613 11MI1615 11MI1613FT 11MI1615FT
Load Ball Diameter (mm) 15.8 15.8 15.8 15.8
Fixing Method Thread Thread Thread Thread
Max Load (Ball Up) (kg) 70 70 70 70
Max Load (Ball Down) (kg) Contact Technical Contact Technical Contact Technical Contact Technical
Load Ball Material Carbon Chrome Stainless Steel Carbon Chrome Stainless Steel
Support Ball Material Carbon Chrome Stainless Steel Carbon Chrome Stainless Steel
Unit Housing Finish Carbon Steel Stainless Steel Carbon Steel Stainless Steel
C (offset) N/a N/a N/a N/a
๏ปฟSupport Dynamic Load N/a N/a N/a N/a
๏ปฟLoad To Fully Depress N/a N/a N/a N/a
Flange Diameter (A) (mm) N/a N/a N/a N/a
Inside Diameter (B) (mm) N/a N/a N/a N/a
Clip Depth (C) (mm) N/a N/a N/a N/a
Material Thickness (D) (mm) N/a N/a N/a N/a
Product Weight (kg) 0.05 0.05 0.06 0.06
Dimension P - Thread Size M6 M6 M6 M6
Dim. A - Max Diameter (mm) 24 24 24 24
Dim. B - Working ht. of Ball (mm) 20.5 20.5 20.5 20.5
Dim. D - Body Diameter (mm) N/a N/a N/a N/a
Dim. E - Under Flange to Base (mm) N/a N/a N/a N/a
Dim. F - Flange Thickness (mm) N/a N/a N/a N/a
Dim. F - Base Thickness (mm) N/a N/a N/a N/a
Dim. G - Fixing Holes PCD (mm) N/a N/a N/a N/a
Dim. H - Fixing Hole Size (mm) N/a N/a N/a N/a
Dim. J - Major Flange Size (mm) N/a N/a N/a N/a
Dim. K - Minor Flange Size (mm) N/a N/a N/a N/a
Dim. L - Overall Height (mm) 32.5 32.5 32.5 32.5
Dim. N - Length of Thread (mm) N/a N/a N/a N/a
Dim. O - Seating Hole (mm) N/a N/a N/a N/a
Dim. R - Radius Under Flange N/a N/a N/a N/a
Dim. X - Across Flats N/a N/a N/a N/a

NEED HELP SELECTING YOUR BALL TRANSFER UNIT?

SELECT YOUR BALL TRANSFER UNIT

Let us help you find the perfect Ball Transfer Unit to suit your application.

FIND OUT MORE

MATERIAL TYPES

Alwayse have developed a range of material types that can satisfy all applications.

FIND OUT MORE

LOAD RATING

Load ball ratings fall into Light, Medium or Heavy.

FIND OUT MORE

FIXING TYPES

Ball Transfer Units can be fixed using a variety of methods to fit a range of different surface materials.

FIND OUT MORE
COMPARE BRIEF BUILDER CONTACT US